碳酸钙再加工厂基本工艺

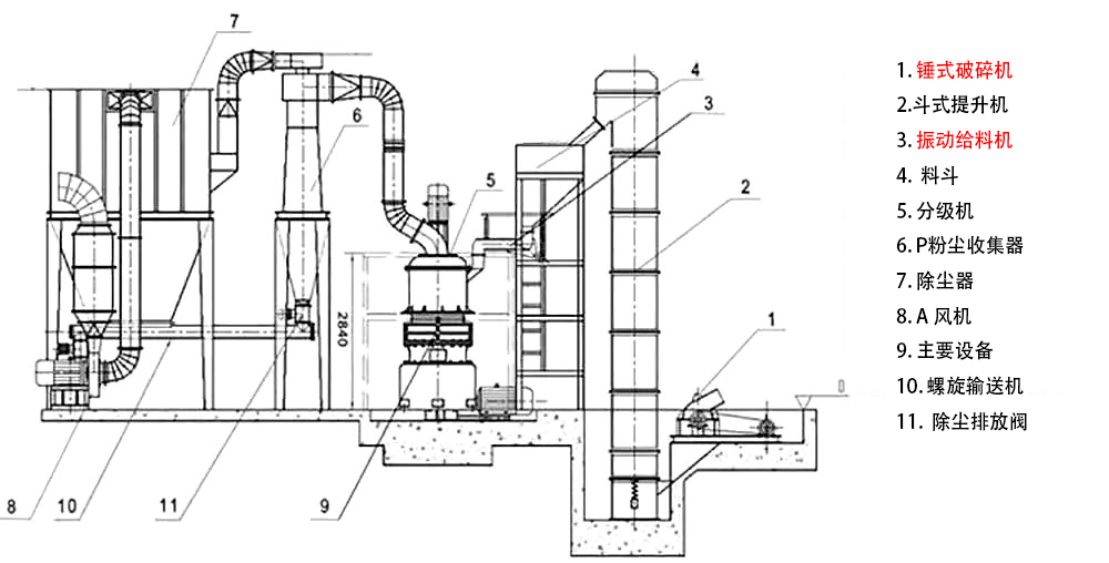
首先,石灰石、方解石和大理石等原材料是从采石场开采的。然后对这些原料坍落点经过精心挑选、清洗,以保证成品碳酸钙粉的高质量。然后这些干燥和清洗后的原料将经过第一破碎机和二次破碎机,如颚式破碎机和锤式破碎机,成为所需的进料粒度。
此时,这些材料已准备好进行进一步研磨。首先,将原料放入料仓中,通过振动进料装置将原料输送到球磨机。在球磨机中,在介质球的冲击下,这些原料被研磨成细小的碳酸钙粉末。
然后球磨机的物料将被吹过分级机。所需的细磨碳酸钙粉将输送到产品仓,而较粗的材料将返回球磨机进行重磨。最终产品将被包装和储存以备使用。
当然,除了磨机、分级机等核心机外,还有其他输送系统、除尘系统、包装系统。此外,整个碳酸钙生产过程可以全自动,并由操作面板控制。
在线询价您可以填写下面的表格,把您的联系方式和产品需求提交给我们,我们将尽快与您联系解决,谢谢!为了能及时和您取得联系,请您务必完整填写您的联系方式和需求信息。
上一篇: 石膏下一篇: 履帶移動式建筑垃圾處理生產線
上海丁博重工機械有限公司

























